Převodníky narrow-wide. Jaká je jejich skutečná historie ;-)
Převodníky narrow-wide. O co jde? Jaká je jejich historie? Byl SRAM první? Proč se ostatní výrobci nemusí starat o jejich patent? - představuji vám pravdivou historii tohoto vynálezu :-)
Převodníky narrow-wide. O co jde? Jaká je jejich historie? Byl SRAM první? Proč se ostatní výrobci nemusí starat o jejich patent? - představuji vám pravdivou historii tohoto vynálezu :-)
-
Převodníky narrow-wide (úzko-široké) se objevily na trhu asi kolem roku 2010, spolu s rychlým rozvojem popularity jednobiegových (1x) pohonů. Výrobci komponentů, hledající řešení problémů souvisejících s padáním řetězu v terénu, navrhli inovativní design založený na střídavém umístění zubů různých velikostí.
-
Technologie je založena na jednoduché, ale geniální myšlence: zuby jsou umístěny střídavě — úzké a široké — v poměru odpovídajícím vnitřním a vnějším článkům řetězu. Úzké zuby chytají vnitřní články, široké pak vnější.
-
Převodníky narrow-wide jsou standardem v horských kolech (MTB hardtail a full suspension), zejména v disciplínách vyžadujících jízdu v terénu. Stejně populární se staly v gravelových kolech, kde minimalistický přístup k pohonu zvyšuje univerzálnost.

Zdálo by se, že SRAM je vynálezcem těchto převodníků. Pravda je trochu jiná ?
SRAM X-Sync (cca 2012) — SRAM uvedl převodníky narrow-wide na trh jako X-Sync kolem roku 2012. Technologie byla vyvinuta týmem inženýrů ve Schweinfurtu v Německu. Byla to první komerční implementace narrow-wide pro horská kola. Mnoho dalších výrobců pohonů však už mělo oko na toto řešení.
SRAM svůj nápad opatentoval a táhal po soudech výrobce jako RaceFace, Wolf Tooth, Praxis Works. Gigantovi se však nepodařilo přivlastnit si toto řešení. Soudy odmítaly nároky SRAM. Proč?
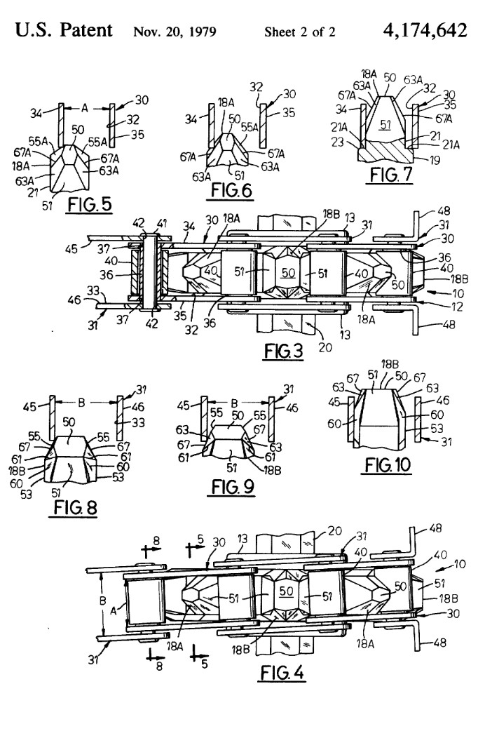
Mnohem dříve, v roce 1978, firma Gehl Company (Wisconsin, USA) opatentovala (patent č. 4174642) pro své zemědělské stroje řetězový pohon, který byl podobný dnešním převodníkům. Nevypadalo to přesně stejně, protože nápad využíval nějaké ozubené kolo, které mělo následující charakteristiky:
Ozubené kolo mělo sudý počet zubů
Každý druhý zub byl široký, každý druhý úzký
Zuby byly kónické (tapered), aby usnadnily zapojení řetězu
Řetěz měl odpovídající střídavé široké a úzké otvory mezi články
Tento patent už vypršel a byl dostupný pro ostatní, takže nápad se začal používat v jiných aplikacích.

Ale postupně...
Obecné informace o patentu:
Číslo patentu: US 4174642
Název: "Chain Drive Including Sprocket Having Alternate Wide And Narrow Teeth"
Výrobce: Gehl Company (Wisconsin, USA)
Datum podání žádosti: 9. února 1978
Datum publikace: 20. listopadu 1979
Status: Patent vypršel (nyní dostupný ve veřejné doméně)
Co byla firma Gehl?
Gehl Company je výrobce stavebních a zemědělských strojů se sídlem ve Wisconsinu. Specializovala se na zařízení pro transport, nakládání a zpracování materiálů — tato zařízení tvořila jádro jejich podnikání. Nikdy nebyla výrobcem cyklistických komponentů.
Obsah patentu
Účel vynálezu
Patent popisoval řešení problému v řetězových pohonech používaných ve stavebních a zemědělských strojích. Problém spočíval v tom, že během provozu mohl být řetěz posunut vůči rovině ozubeného kola, což vedlo k:
-
Vypletení řetězu z ozubeného kola
-
Utržení řetězu
-
Zvýšeného opotřebení
Řešení
Vynález využíval ozubené kolo se střídavými širokými a úzkými zuby, kombinované s řetězem mající střídavě široké a úzké články.
Hlavní charakteristiky:
-
Ozubené kolo mělo sudý počet zubů
-
Každý druhý zub byl široký, každý druhý úzký
-
Zuby byly kónické, aby usnadnily zapojení řetězu
-
Řetěz měl odpovídající střídavé široké a úzké otvory mezi články
Praktické výhody (podle patentu)
-
Eliminace sklouzávání řetězu z ozubeného kola
-
Snížení rizika utržení řetězu
-
Snížení opotřebení jak řetězu, tak zubů ozubeného kola
-
Snížení hluku během provozu
-
Možnost ekonomické výroby (lití, kování, obrábění)
Použití v průmyslu
Patent byl použit ve stavebních a zemědělských strojích, zejména v:
-
Zařízeních transportujících sypké materiály
-
Bagry a vybavení na kopání
-
Zemědělských nakladačích
V soudních procesech se SRAM snažil dokázat, že narrow-wide je jejich nápad. Ale soudy jim nevěřily. Gehlův patent tak podobně připomínal řešení SRAM, že soudy odmítaly nároky a umožňovaly ostatním výrobcům využívat nápad.
SRAM se nevzdával a stále více vymýšlel, podávaje početné patentové přihlášky, ale jejich patenty se týkaly konkrétní kombinace vlastností: střídavé zuby + posun dovnitř (inboard offset). Nemohly však zablokovat využívání technologie narrow-wide ostatními výrobci.
A velmi dobře, že se to tak stalo. Jinak bychom byli odsouzeni pouze na produkty giganta. Takto máme k dispozici mnoho skvělých výrobců převodníků. Prakticky systém narrow-wide kraluje v pohonech 1x. Velmi dobře se osvědčuje a nenaznačuje se, že by něco jiného nahradilo toto spolehlivé řešení.
A na našich policích najdete vysoce kvalitní narrow-wide převodníky firmy AEROZINE.
https://sklep.token-polska.pl/korby-aerozine-c-252.html


Comments
No comment at this time!
Leave your comment